Apple vừa được cấp bằng sáng chế màn hình hai lớp - tích hợp camera và đèn flash ẩn, mở ra khả năng FaceTime ngay trên Apple Watch trong tương lai.
Dù có qua bao nhiêu năm đi chăng nữa, mỗi khi nhắc đến sự tinh tế và công nghệ tối tân trên các thiết bị điện tử, người tiêu dùng và giới công nghệ vẩn luôn nhớ đến 'ông hoàng' Apple.
Và mới đây, hãng lại tiếp tục khuấy đảo giới công nghệ với một bằng sáng chế hoàn toàn mới - màn hình hai lớp tích hợp camera và đèn flash ẩn, bằng sáng chế này có thể là 'bậc thang' giúp nhà Táo hướng đến một thứ bậc mới cao hơn, bằng cách thay đổi cách người dùng nhìn và selfie với Apple Watch.
Nghe tưởng chừng như đây chỉ là một điều 'viễn tưởng', nhưng bằng sáng chế này mới đây đã chính thức được Văn phòng Sáng chế và Nhãn hiệu Hoa Kỳ cấp cho Apple. Hãy cùng mình tìm hiểu về nó ngay trong bài viết dưới đây.
Khi màn hình không chỉ để hiển thị
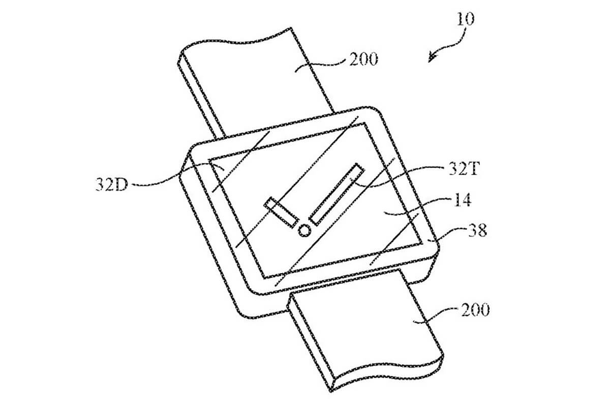
Theo như mô tả từ bằng sáng chế có tên 'Electronic device with two-stage display' (tạm dịch: Thiết bị điện tử có màn hình hai lớp), Apple đang hướng tới việc 'giấu' toàn bộ phần camera và đèn flash xuống bên dưới lớp màn hình.

Chi tiết từ bằng sáng chế về cách hiển thị mặt đồng hồ.
Điều này đồng nghĩa với việc, điểm yếu cố hiểm trên Apple Watch là không có camera sẽ được khắc phục, nhưng bạn sẽ không thể thấy camera của thiết bị ở đâu cả, cho đến khi bạn cần chụp ảnh hay gọi FaceTime.
Cụ thể, công nghệ này đã cho thấy Táo khuyết đang phát triển một tấm nền 2 lớp, với:
♦ Lớp trong được dùng để hiển thị hình ảnh như các màn hình hiện nay, không khác gì một chiếc Apple Watch hiện tại.
♦ Trong khi đó, lớp ngoài lại có thể tự điều chỉnh ánh sáng và chuyển từ chế độ mờ sang trong suốt, để có thể 'mở cửa' cho camera và đèn flash hoạt động mỗi khi cần.
Nói một cách đơn giản là khi bạn không sử dụng, màn hình vẫn đẹp long lanh - không hề bị ảnh hưởng bởi cụm camera, nhưng khi cần đến là thiết bị sẽ tự động 'mở khóa tàng hình' - cho phép ánh sáng có thể đi qua để ghi lại hình ảnh rõ nét.
Vì sao Apple cần camera trên Apple Watch?
Từ lâu, Apple Watch đã trở thành một thiết bị đeo tay được yêu thích trong lĩnh vực giải trí, chăm sóc sức khỏe, thời trang và cả trợ lý cá nhân quá đỗi quen thuộc.

Một ý tưởng thiết kế Apple Watch với camera.
Tuy nhiên, khi nói về khả năng 'giao tiếp' bằng hình ảnh, đồng hồ thông minh của Apple vẫn đang 'lép vế'. Điều này khiến cho không ít người dùng cảm thấy 'mất vui' và mong muốn trong tương lai có thể:
♦ Gọi FaceTime trực tiếp từ cổ tay mà không cần iPhone.
♦ Chụp ảnh nhanh trong các tình huống linh động như: đi đường, tập gym, đang nấu ăn,....
Có vẻ như Apple đã thấu hiểu những mong muốn đó, và việc tích hợp camera ẩn dưới màn hình có thể chính là nước cờ hoàn hảo để đáp ứng nhu cầu ngày càng cao của người dùng công nghệ tương lai.
Apple đã manh nha ý tưởng này từ lâu
Được biết, đây không phải là lần đầu tiên Apple nghĩ đến việc đưa camera lên đồng hồ. Kể từ năm 2019, Apple đã nộp một bằng sáng chế về việc tích hợp camera lên dây đeo Apple Watch. Tuy nhiên, thiết kế này đã chìm vào quên lãng.
Đến đầu năm 2025, đã xuất hiện những thông tin cho thấy nhà Táo đang thử nghiệm một mẫu Apple Watch nắp gập có camera bên trong. Và bây giờ, một bước tiến thực sự với công nghệ màn hình đa tầng (multi-layer display).

Apple Watch nắp gập có camera bên trong.
Điều đặc biệt là công nghệ này không chỉ dự kiến được áp dụng cho Apple Watch, mà nó còn có thể ứng dụng cho các thiết bị khác trong hệ sinh thái Apple như:
♦ iPhone với camera trước ẩn hoàn toàn, không cần tai thỏ hay Dynamic Island.
♦ iPad với FaceTime mượt mà, mà không phá vỡ thiết kế viền mỏng.
♦ MacBook sẽ liền mạch hơn khi ẩn camera FaceTime vào chính màn hình Retina.
Tuy nhiên, việc tích hợp camera vào màn hình là việc làm không hề đơn giản. Để có thể đưa công nghệ này vào thương mại hóa, Apple vẫn còn cần phải xử lý nhiều vấn đề, chẳng hạn:
♦ Đảm bảo chất lượng hình ảnh dù bị che bởi một lớp hiển thị.
♦ Không làm giảm độ sáng, độ tương phản của màn hình khi xem nội dung.
♦ Tối ưu trải nghiệm người dùng, không để ai phát hiện ra 'điểm bất thường'.
Hiện giải pháp mà nhà Táo có thể đưa ra là sử dụng mạch điều khiển, với chức năng bật/tắt độ trong suốt của màn hình, từ đó cho phép điều chỉnh linh hoạt khi camera hoạt động hoặc nghỉ ngơi.
Kết luận
Dù chưa chắc chắn công nghệ mới này có thể xuất hiện ngay trên các phiên bản Series 10 hay Series 11, nhưng nó đã cho thấy tầm nhìn của Apple về một thiết bị nhỏ nhưng quyền lực, thậm chí còn có thể thay thế iPhone trong một vài tình huống nhất định, mở ra cho Apple Watch tương lai hoàn toàn độc lập.
FAQ - Câu hỏi thường gặp
Công nghệ này khi nào sẽ có trên sản phẩm thực tế?
Apple không công bố chính xác. Tuy nhiên, bằng sáng chế cho thấy công ty đang trong giai đoạn nghiêm túc nghiên cứu.
Có ảnh hưởng đến chất lượng hiển thị không?
Theo mô tả trong bằng sáng chế, Apple sử dụng lớp màn hình có thể điều chỉnh ánh sáng linh hoạt, giúp giảm thiểu ảnh hưởng đến hình ảnh.
Apple Watch có thay thế iPhone được không?
Chưa hoàn toàn. Nhưng nếu có camera ẩn và hỗ trợ eSIM mạnh hơn, Apple Watch sẽ tiến gần hơn tới khả năng độc lập.
Xem thêm: iPhone 17 và 17 Air dự kiến ra mắt với 9 màu sắc mới cực hot



















