Theo một số thông tin thì Apple Watch sắp được trang bị thêm một số tính năng thông minh và độc đáo, mà chưa từng có trên một chiếc đồng hồ thông minh nào.
1. Thay đổi ngôn ngữ thiết kế
Trong khi iPhone đã có thay đổi trong phong cách thiết kế, thì Apple Watch vẫn luôn trung thành với thiết kế hình chữ nhật vuông vắn. Tuy nhiên, rất có thể Apple sẽ thay đổi thiết kế này trong tương lại gần.

Trở lại năm 2018, Apple đã được cấp bằng sáng chế cho một công nghệ có thể giảm sự thiếu hiệu quả của pixel bằng màn hình tròn. Điều này có nghĩa là một chiếc Apple Watch với thiết kế hình tròn tiên tiến hơn và nhiều chức năng hơn so với những chiếc smartwatch hình tròn hiện tại sẽ có trong tương lai.
2. Trang bị cảm biến đo lượng đường trong máu
Mặc dù Apple đã trang bị rất nhiều tính năng theo dõi sức khỏe của người dùng trên sản phẩm của mình, nhưng có vẻ từng đó là vẫn chưa đủ. Khi theo một số bằng chứng thì Apple đang phát triển một số loại máy theo dõi glucose, để kiểm tra nồng độ đường huyết có trong máu.

Về cơ bản, cảm biến đó sẽ là một cảm biến không khí môi trường có thể phát hiện ra một số hóa chất trong không khí. Về mặt lý thuyết, nó cũng có thể ngửi thấy mùi mồ hôi của người dùng và xác định xem lượng đường trong máu của họ có thấp không.
3. Trang bị thêm bộ sạc đi kèm trong khi sử dụng
Mặc dù thời lượng pin trên Apple Watch đã được cải thiện, nhưng vẫn chưa đủ khi nó chỉ có thể cầm cự được 1-2 ngày. Nhưng Apple có thể có một ý tưởng để khắc phục vấn đề này.

Cụ thể, họ có ý định trang bị thêm bộ sạc dự phòng cho thiết bị như trên iPhone (ốp lưng kiêm sạc dự phòng). Về cơ bản, bộ sạc của Apple Watch có thể được đặt vào bên trong đồng hồ để cung cấp thêm thời lượng pin đáng kể.
Nếu thiết kế này thành hiện thực, bạn có thể gắn một phần của dây đeo vào phía mặt sau và chúng sẽ cung cấp một thời lượng pin dài hơn. Nó có thể không cung cấp cho bạn thời lượng pin quá lâu nhưng đây có thể là sự bổ sung tuyệt vời.
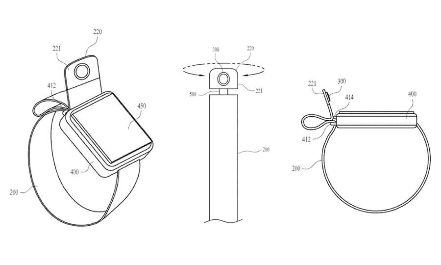
4. Camera trên Apple Watch
Bạn đã có thể thực hiện cuộc gọi hoặc gửi tin nhắn từ Apple Watch, vậy tại sao không phải là một cuộc gọi FaceTime? Hiện tại, bạn không thể làm được điều đó vì thiếu máy ảnh. Nhưng Apple đang nghiên cứu các cách để thêm máy ảnh vào thiết bị đeo của mình mà không làm tăng đáng kể kích thước hoặc trọng lượng.

Theo đó, Apple đang tập trung nghiên cứu việc nhúng một mô-đun camera vào dây đeo Apple Watch. Điều này khiến dây đeo Apple Watch trong tương lai có thể tiên tiến và thông minh hơn. Thậm chí nó có thể mang Face ID lên Apple Watch để cải thiện tính năng bảo mật.
5. Cảm biến cảnh báo nguy hiểm
Đồng hồ thông minh Apple hiện đã có bộ cảm biến cảnh báo người dùng về các điều kiện nguy hiểm, chẳng hạn như tính năng cảnh báo tiếng ồn môi trường xung quanh.

Nhưng trong tương lai, Apple có thể tiến thêm một bước với các cảm biến có thể phát hiện carbon monoxide hoặc các hóa chất nguy hiểm trong không khí.
Nguồn: 24h
Xem thêm: Tổng hợp về iPhone SE 2 - Thiết kế cũ, cấu hình TOP, giá chỉ 9 triệu



















