iPhone màn hình gập đầu tiên của Apple dự kiến ra mắt vào năm 2026, sử dụng màn hình OLED 7 inch do Samsung Display sản xuất độc quyền, hứa hẹn khuấy đảo thị trường công nghệ cao cấp.
Thế giới đã chứng kiến Samsung, Huawei, OPPO,... đua nhau tung ra những chiếc điện thoại màn hình gập từ nhiều năm nay. Còn Apple, họ chọn cách 'nằm im quan sát' - nhưng không phải vì lười đổi mới, mà là vì họ có chiến lược rất riêng - chỉ nhảy vào khi mọi thứ đã 'chín muồi'.
Và giờ là lúc nhà Táo khuyết đã bắt đầu hé lộ một sản phẩm hoàn toàn mới - iPhone màn hình gập đầu tiên, được đồn đoán ra mắt vào năm 2026 với thiết kế siêu mỏng, cấu hình mạnh và công nghệ màn hình đỉnh cao từ đối thủ truyền kiếp - Samsung.
Đồng minh bất ngờ nhưng 'đủ lực chơi lớn'
Từ lâu, Apple vẫn luôn cố gắng đa dạng chuỗi cung ứng của mình, nhưng với dòng iPhone gập, hãng vẫn quyết đặt trọn niềm tin vào Samsung Display - cái tên 'sừng sỏ' về mặt công nghệ OLED gập, từng làm nên thành công cho dòng Galaxy Z ra mắt từ năm 2019, điều này cũng đồng nghĩa với việc Samsung Display sẽ là nhà cung cấp màn hình gập duy nhất cho Apple trong nhiều năm.

Theo nguồn tin từ ETNews (Hàn Quốc), Samsung đang gấp rút hoàn thiện dây chuyền sản xuất chuyên biệt để phục vụ riêng cho iPhone màn hình gập tại nhà máy A3 ở Asan, Chungcheongnam-do, Hàn Quốc.
Dây chuyền này được cho là có năng suất ước tính lên đến 15 triệu tấm nền OLED gập 7 inch mỗi năm, quá dư dả so với mục tiêu sản xuất chỉ từ 6 - 8 triệu máy của Apple trong năm đầu ra mắt.
Mỏng như iPad mini, mạnh như iPhone Pro
Thiết kế 'siêu mỏng'
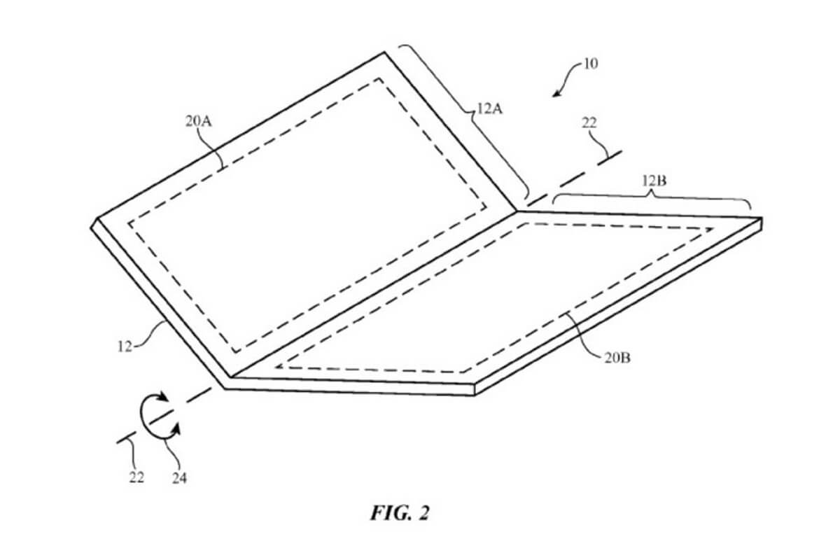
'Siêu phẩm' gập đầu tiên của nhà Táo được cho là sẽ sở hữu màn hình OLED kích thước 7 inch, với tỉ lệ khung hình 4:3 - tương tự như một chiếc iPad mini, nhưng có thể gập gọn lại vừa túi áo.
Điện thoại sở hữu thiết kế 'gập vào trong' nhằm bảo vệ màn hình tối ưu khi không sử dụng. Kết hợp cùng với thiết kế bản lề mới, mang đến sự bền bỉ và một màn hình không nếp nhăn.

Theo thông tin rò rỉ, máy sẽ có độ dày chỉ 4.5 mm khi mở ra, một con số 'siêu mỏng' nếu so với bất kỳ thiết bị nào hiện nay trong hệ sinh thái Apple hay các mẫu điện thoại màn hình gập khác trên thị trường.
Cấu hình 'siêu mạnh'
Chiếc iPhone màn hình gập này sẽ được trang bị bộ vi xử lý thế hệ mới - có thể là Apple A20, mang đến hiệu năng vượt trội để xử lý các tác vụ AI, AR và đa nhiệm nặng.
Đặc biệt, nhiều nguồn tin còn cho rằng, Táo khuyết sẽ nói lời tạm 'chia tay' với Face ID và đưa Touch ID trở lại dưới dạng cảm biến tích hợp, phù hợp hơn với cơ chế gập.

Hệ thống camera sau vẫn giữ nguyên triết lý tối giản của Apple, gồm hai ống kính - một góc rộng và một siêu rộng, đủ để đáp ứng nhu cầu nhiếp ảnh di động nhưng không làm tăng độ dày của máy.
Thời điểm ra mắt và giá bán
Apple luôn nổi tiếng với chiến lược 'không bao giờ vội vàng' khi tung ra công nghệ mới. Chính vì thế, trong khi các hãng như Samsung, Huawei hay OPPO đã thử nghiệm và thương mại hóa điện thoại gập từ sớm, Apple lại chọn quan sát thị trường, đợi công nghệ ổn định và người dùng thực sự sẵn sàng.
Và năm 2026 chính là thời điểm mà Táo khuyết được cho là 'chín muồi', khi công nghệ màn hình gập đã đủ độ tin cậy, chi phí sản xuất đang được tối ưu hóa và nhu cầu trải nghiệm thiết bị đột phá của người dùng ngày càng tăng.
Cùng lúc đó, Apple cũng đang cần một 'cú hit' để tạo ra sự khác biệt sau nhiều năm iPhone không còn đột phá về ngoại hình. Dòng iPhone 15 và iPhone 16 hiện tại dù mạnh hơn, nhưng vẫn mang ngôn ngữ thiết kế quen thuộc. Thậm chí, dòng iPhone 17 sắp ra mắt dù được cho là có sự thay đổi về phong cách thiết kế, nhưng sự thay đổi này dự kiến cũng không đủ sức để Apple trở lại 'đỉnh cao'.

Chính vì thế, việc ra mắt iPhone gập sẽ là lời tuyên bố rằng Apple vẫn còn rất nhiều 'bài vở' và luôn sẵn sàng làm mới mình. Dự kiến, dòng sản phẩm này sẽ ra mắt vào năm 2026, cùng với iPhone 18, iPhone 18 Air, iPhone 18 Pro và iPhone 18 Pro Max. Sản phẩm này cũng sẽ được nâng cấp hàng năm như các mẫu iPhone khác.
Bên cạnh đó, theo nhiều chuyên gia công nghệ, iPhone màn hình gập sẽ không thay thế cho dòng iPhone truyền thống như Pro hay Pro Max, mà song hành như là một sự lựa chọn cao cấp mới. Chính vì thế, giá bán dự kiến của thiết bị có thể lên tới hơn 2.000 USD (khoảng 52.2 triệu đồng).
iPhone gập - khi Apple 'bung cánh' bước vào thời đại mới
Việc Apple chính thức gia nhập vào cuộc chơi màn hình gập không chỉ là một quyết định chiến lược, mà còn là lời khẳng định về năng lực đổi mới của hãng.
Với sự hậu thuẫn từ Samsung Display, Apple đang chuẩn bị tung ra một thiết bị mang tính biểu tượng mới, có thể tạo nên làn sóng thay đổi trong thói quen sử dụng smartphone của người dùng. Đó không chỉ là một chiếc iPhone mới, mà là bước chuyển mình của cả hệ sinh thái iOS.
Xem thêm: Apple sắp tung màu sắc 'ảo tung chảo' trên iPhone 17 Air



















