Patently Apple mới đây đã tuyên bố tìm thấy một bằng sáng chế mới của Apple có liên quan đến thiết kế màn hình cuộn. Bằng sáng chế này đã cho thấy sự quan tâm của nhà Táo dành cho công nghệ màn hình cuộn độc đáo.
Theo đó, bằng sáng chế này mô tả về một thiết bị điện tử với màn hình có thể cuộn, trong đó, màn hình sẽ được chia làm 2 phần - phần có thể cuộn và phần không thể cuộn, cả hai đều có thể hiển thị được nội dung.
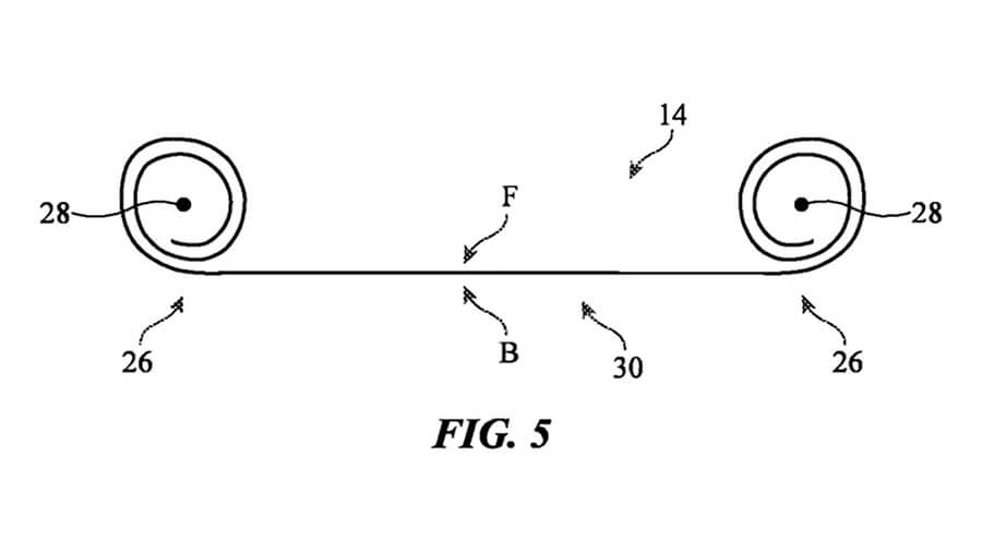
Sơ đồ đi kèm với bằng sáng chế khá giống với tờ giấy bị cuộn ở hai đầu. Ý tưởng này rất hay, khi bạn có thể có một màn hình kích cỡ to, nhưng cũng có thể cuộn lại để bỏ vừa vào túi, vậy nên công nghệ này sẽ rất đáng chờ đợi.

Mô tả màn hình cuộn trong bằng sáng chế của Apple.
Được biết, ngoài Apple thì LG và Samsung cũng đã thử nghiệm công nghệ này cho sản phẩm của họ, tuy nhiên, hiện tất cả những nghiên cứu này vẫn chỉ đang dừng ở giai đoạn nguyên mẫu.
Tại Mobile World Congress năm nay, Motorola cũng đã giới thiệu một khái niệm điện thoại cuộn với màn hình có thể mở rộng từ 5 inch lên tới 6.5 inch bằng cách nhấn nút.
Tuy nhiên, việc chuyển từ khái niệm sang sản phẩm vẫn còn rất xa, nên người dùng có thể phải chờ đợi rất lâu trước khi iPhone có thể được trang bị công nghệ màn hình cuộn này, dù đã có nhiều bằng sáng chế liên quan đến công nghệ này bị rò rỉ.
Xem thêm: Apple đang phát triển iPad Air 6 với những cải tiến đáng mong chờ



















